返回>>
DYW-7-NC水聲換能器
名稱:7KHz水聲換能器
型號:DYW-7-NC
量程:300m
工作溫度:-40~+80℃
頻率:7KHz±2KHz
工作電壓:峰值電壓<600Vpp
本產品適用于:低頻噪聲接收
全國熱線
0591-28082552
產品詳情
一、換能器的主要技術指標
項目 | 技術指標 | 實物圖片 |
名稱 | 7KHz水聲換能器 |
|
型號 | DYW-7-NC | |
頻率 | 7KHz±2KHz | |
建議量程 | 300m | |
最小阻抗 | 4000Ω±20% | |
電容量 | 11000pF±20% @1KHz | |
工作電壓 | 峰值電壓<600Vpp | |
工作溫度 | -40~+80℃ | |
壓力 | ≤10公斤或者1MPa | |
角度 | ||
外殼材質 | ABS | |
用途 | 低頻噪聲接收 | |
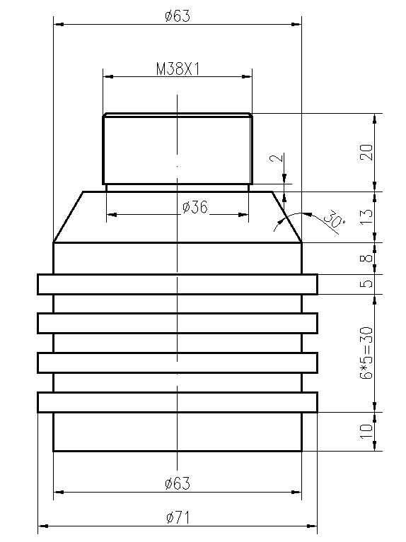
安裝尺寸 | 詳見產品結構圖 | |
防護等級 | IP68 | |
重量 | 325g±5%(線長:1m) | |
接線說明 | 紅:換能器+,黑:換能器-及屏蔽線;(默認不帶溫度傳感器) | |
二、換能器的導納曲線圖

三、換能器產品結構圖

上一條
暫無~
下一條
DYW-7-NB水聲換能器
產品中心
聯系我們
全國咨詢熱線:0591-28082552
QQ:2187169532
手機:18050180580
郵箱:2187169532@qq.com
地址:福建省福州市晉安區福興經濟開發區紅光路11號E座







